控制系统
-
基于MC9S12DGl28单片机的快速位置伺服系统的设计
O 引言 本设计要求对某火炮的水平和高低角进行控制,达到快速位置伺服系统的要求。而这个火炮角度控制系统首先要求有快速性,它的反应时间大于或等于12/s;角度转动控制精度小于或等...
2011-11-15 -
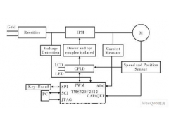
基于DSP+CPLD的异步电动机控制系统开发平台设计
随着电力电子技术、电机控制理论和微控制器的不断发展,现代交流调速技术在国民经济中得到了广泛应用。目前,高性能的调速控制策略和现代控制理论已逐步应用于交流电动机控制领域,...
2011-11-15 -
用单片机控制直流电机
本设计以AT89C51单片机为核心,以4*4矩阵键盘做为输入达到控制直流电机的启停、速度和方向,完成了基本要求和发挥部分的要求。在设计中,采用了PWM技术对电机进行控制,通过对占空比的计...
2011-11-15 -
基于PC和FPGA的运动控制系统
运动控制系统被广泛地运用于各个领域。传统的运动控制系统设计有基于PC的中央控制方式和基于微控制器的嵌入式控制方式等。基于PC的运动控制方式,由于其采用多任务操作系统,对处理器...
2011-11-15 -
交流电机控制系统的控制算法综述
1 引言 随着电力电子器件及微电子器件的迅速发展,以及现代控制理论在交流调速传动中的具体应用,从一般要求的小范围调速传动到高精度、快响应、大范围传动;从单机传动到多机传动协...
2011-11-15 -
基于CPCI总线的运动控制卡的设计
1 引 言 近年来,随着对系统可靠性需求的日益增加,CPCI总线以其独特的优势被广泛地应用在工业控制中。由于CPCI总线支持热插拔,这种方式就保证在不影响系统运行的前提下,可以对其中的...
2011-11-15 -
ACS多轴运动控制系统应用
为了满足当今半导体产业的最高的多轴自动化应用的需求,工程师们转而朝向把最好的集成和基于网络的控制属性的运动控制平台方向。 许多先进机器的控制平台,即基于网络和集中控制开始...
2011-11-15 -
基于嵌入式ARM Linux步进电机驱动程序的设计
0 引言 随着激光雕刻机的不断发展和改进,嵌入式Linux的激光雕刻机比CNC(Computer numerical control)激光雕刻的优势不断显现,它大幅度提高了处理能力,方便了设计开发,节约了成本,是未来经济...
2011-11-15
排行榜
华体会联盟hth
关注我们
关注微信公众号,获取更多服务与精彩内容












