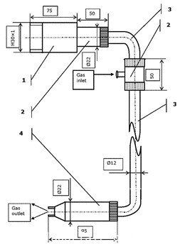
带有气体清洗功能的CO2激光传输高功率光缆系统

1. 耦合器,包括可调的ZnSe镜片和SMA 接口
2. H密封单元
3. 带有塑料接口的可弯曲金属软管, 用于传输冷却气体,里面含有光缆(根据要求提供1-1.5m长的光缆)
4. 手柄,包含有输出装置和SMA接口
转载请注明出处。
星之球科技来源:安特激光2013-01-02我要评论(0)![]()
![]()
带有气体清洗功能的CO 2 激光传输高功率光缆系统 1. 耦合器,包括可调的ZnSe镜片和SMA 接口 2. H密封单元 3. 带有塑料接口的可弯曲金属软管, 用于传输冷却气体,里面含...
带有气体清洗功能的CO2激光传输高功率光缆系统

1. 耦合器,包括可调的ZnSe镜片和SMA 接口
2. H密封单元
3. 带有塑料接口的可弯曲金属软管, 用于传输冷却气体,里面含有光缆(根据要求提供1-1.5m长的光缆)
4. 手柄,包含有输出装置和SMA接口
转载请注明出处。
① 凡本网未注明其他出处的作品,版权均属于hth官方 ,未经本网授权不得转载、摘编或利用其它方式使用。获本网授权使用作品的,应在授权范围内使 用,并注明"来源:hth官方 ”。违反上述声明者,本网将追究其相关责任。
② 凡本网注明其他来源的作品及图片,均转载自其它媒体,转载目的在于传递更多信息,并不代表本媒赞同其观点和对其真实性负责,版权归原作者所有,如有侵权请联系我们删除。
③ 任何单位或个人认为本网内容可能涉嫌侵犯其合法权益,请及时向本网提出书面权利通知,并提供身份证明、权属证明、具体链接(URL)及详细侵权情况证明。本网在收到上述法律文件后,将会依法尽快移除相关涉嫌侵权的内容。
相关文章
网友点评
热门资讯
精彩导读
关注我们
