据国外媒体报道,苹果周二(22日)获得一项智能天花板照明系统专利,它将把这种照明系统部署到全球各地的下一代苹果零售店中。
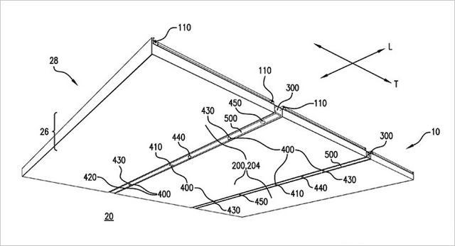
美国专利与商标管理局授予苹果的这项专利的编号为第9217247号美国专利,专利名称为“天花板系统”,专利文件中详细说明了一种室内照明系统,这种照明系统由铺天盖地的光照天花板面板和线性光槽组成。

苹果设在布鲁塞尔的最新零售店和加州库伯蒂诺市总部园区的翻新零售店的计划书中都提到了这项专利的说明文字。

这种智能天花板照明系统并非点光源,而是将整块天花板变成了一个巨大的漫射照明装置。苹果称,统一的光照强度有助于提供一种完美的客户体验,而且在商品陈列上也会有更大的灵活性。
在各种照明设计方案中,苹果可以用带或不带照明功能的天花板面板和窄槽拼接成不同的图案。带照明功能的面板中也许安装着LED灯管或其他光源,通过织物或塑料漫射器直射下来或通过背板反射下来。
窄槽遍布在整个天花板上,窄槽中整合了能够朝着窄槽中心线水平发射光线或垂直向下发射光线的LED子系统。某些照明方案中还可以通过丁字架向下扩展,以便为通风管预留空间。
摄像头、麦克风、报警器、火警器和其他电子系统可以通过创新设计安装到天花板面板的后面和纵向槽中,这样从外面就看不到它们。虽然苹果没有在专利文件中说明,但是iBeacon通信模块也能直接被安装到天花板中。
在首席设计官乔尼·艾维(Jony Ive)的帮助下,负责苹果零售业务的高级副总裁安吉拉·阿伦茨(Angela Ahrendts)正在对苹果零售店进行重要的翻新。阿伦茨周日在“60分钟”节目中展示了苹果库伯蒂诺市总部附近的一家苹果零售店的模型,她说她的目标是让顾客们走进下一代苹果零售店时能够获得一种充满变化的购物体验。

这项专利的申请文件是苹果在2014年2月提交上去的,专利发明人包括:斯特凡·贝林(Stefan Behling)、大卫·尼尔森(David Nelson)、詹姆斯·麦克格拉斯(James McGrath)、沃尔夫冈·穆勒(Wolfgang Muller)、洛伦佐·坡利(Lorenzo Poli)、柏恩德·李克特(Bernd Richter)、罗伯特·布里杰(Robert Bridger)、乔纳森·P·西格尔(Jonathan P. Siegel)、瓦斯科·阿格诺里(Vasco Agnoli)和凯西·菲尼(Casey Feeney)。
转载请注明出处。







相关文章
热门资讯
精彩导读

































关注我们




